均速管流量計防堵設計
均速管和其他差壓式流量計一樣都是利用差壓原理進行流量測量的。均速管采用的全新均速流量探頭的先進技術(子彈頭型均速管)。下面重點介紹其防堵設計:
探頭高壓取壓孔不會被堵
探頭的前部形成高壓區,壓力略高于管道靜壓,阻止顆粒進入。在探頭的高壓取壓孔處流體的速度是零,所以物體不會進入取壓孔。
如右圖,剛開機時。流體在管道靜壓作用下,進入彎道,很快形成了壓力平衡的狀態。當壓力平衡以后,流體在取壓孔處遇到高壓,繞道而行,不會進入彎道中。
探頭的低壓取壓孔實現本質防堵
一般情況下,灰塵、沙子和顆粒在渦街力的作用下,集中在探頭的后部。這就是為什么秋天的樹葉總是集中在背風的房子的后面。其他的探頭由于低壓取壓孔取在探頭的尾部真空區,在渦街力的作用下,探頭的低壓取壓孔很快地被渦流帶來的雜質堵死。
型均速管的獨特設計,使低壓取壓孔位于探頭側后兩邊,流體分離和尾跡區地前部。這種設計從本質上防止了堵塞并且能產生一個非常穩定的低壓信號。


連續工作的探頭從根本上杜絕了堵得可能,但是以下情況下,探頭任然要注意防堵:
1、當引壓管泄漏,探頭高壓區平衡遭到波壞,雜質中直徑較小的顆粒就有可能進入取壓孔。
2、當管道處于停產時,由于分子的布朗運動,顆粒小的雜質有可能進入取壓孔。
3、系統頻繁開停機,在高壓區形成的瞬間,顆粒小的雜質有可能進入取壓孔,日積月累,就會有可能造成探頭堵塞。
4、介質中含有大量的焦油、藻類生物,或者含有纖維狀的物質,也有可能造成探頭堵塞。
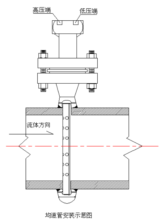
根據探頭可能會被堵塞的情況現介紹常見的幾種維護方法首先介紹以下均速管探頭的安裝示意圖:

如果探頭出現堵塞的情況,通常我們我們會根據所測的介質來選擇處理措施。
嚴重堵塞情況輕微堵塞情況
如果測量的是煙氣、煤氣或是空氣時我們一般采用壓縮空氣分別在探頭的高壓端和低壓端進行反吹。
如果測量的是水時就用高壓水進行反催。
如果測量的是一些特殊介質的話最好是將探頭拆下來清理。如果不能停產的話在選型過程是可能選用在線插拔型。將探頭拆下來以后先用壓縮空氣從探頭的高壓端和低壓端進行反吹。如果反復操作幾次以后堵塞情況還沒改善的話就說明堵塞已經很嚴重了即堵塞物已在取壓腔室里面凝結。這時的處理方法就是將探頭浸入酒精中,浸泡一段時間后用鋼絲向被堵塞的高低壓取壓孔捅捅,反復動作最后再用高壓水沖洗。
最新資訊文章
- 流速式流量計的安裝注意也需要一定講究
- 氣體渦街流量計在測量蒸汽爐煤氣時出現問題及解決方法
- 孔板流量計測量瓦斯抽放流量時的安裝要求及取壓方式
- 測蒸汽時應選孔板流量計還是渦街流量計?
- 差壓孔板流量計出現故障時 不妨試試以下方法
- 天然氣流量計管道調試故障原因分析
- 插入式流量計的原理與分類
- 如何消除污水流量計工頻干擾和零點漂移
- 孔板流量計:自動化設計廢鋼鐵行業轉行井噴
- 前后直管段太短時孔板流量計應該如何安裝
- 德爾塔巴流量計的安裝要求以及注意
- 高壓孔板流量計在冷凍水檢測中的注意要點及解決方案介紹
- 選型蒸汽流量計時所需要注意的問題介紹
- 導致孔板流量計誤差變大的原因分析
- 孔板流量計測量蒸汽產生誤差的原因分析及解決辦法
- 深入探究影響孔板流量計進行煤氣流量計量的因素
- 質量流量計和控制器引擎蓋下的主要組件詳細介紹
- 淺析階躍溫度及水流速度對金屬管浮子流量計的影響
- 選擇流量計時會犯的10個常見錯誤以及如何避免錯誤
- 運用標準計量器具校正金屬管浮子流量計
- 如何正確安裝蒸汽流量計
- 天燃氣流量計的功能介紹
- 蒸汽流量計運行工作前的準備和調試
- 限流孔板流量計作為流量測量元件的使用條件有哪些
- 環形孔板流量計在各介質中的應用













