長徑噴嘴流量計
西安華恒儀表制造有限公司是掌握流量計、壓力變送器、密度計、液位計核心技術的儀表生產廠家。主要生產流量計/壓力變送器/密度計/液位計OEM(代工),擁有自主的研發團隊和生產線。可以自主研發設計滿足各行業、各環境下的高精度流量計。今天和大家分享一下長徑噴嘴流量計安裝。

本實用新型提供了一種差壓式長徑噴嘴安裝結構,包括工藝管道和長徑噴嘴,以及位于長徑噴嘴兩側的測量孔,所述長徑噴嘴設置于工藝管道的內部,所述測量孔設置在工藝管道的側壁上:其特征在于,所述工藝管道為體式直管道,長徑噴嘴通過一連接件與一體式直管道連接。本實用新型在現有差壓式長徑噴嘴安裝結構的基礎上進行了改進,采用了整體式的工藝管道,并且長徑噴嘴通過連接件與工藝管道連接。如此結構避免了對工藝管道的焊接,因而能夠保證長徑噴嘴與工藝管道的同軸度,減少工藝復雜度,降低工藝成本。

1.一種差壓式長徑噴嘴安裝結構,包括工藝管道和長徑噴嘴,以及位于長徑噴嘴兩側的測量孔,所述長徑噴嘴設置于工藝管道的內部,所述測量孔設置在工藝管道的側壁上;其特征在于,所述工藝管道為一-體式直管道,長徑噴嘴通過一-連接件與-體式直管道連接。2.根據權利要求1所述的差壓式長徑噴嘴安裝結構,其特征在于,所述一體式直管道的內壁上設置有一向內凸出的第一臺階,長徑噴嘴的入口部分設置有與所述第一臺階配合的第二臺階。
3.根據權利要求1或2所述的差壓式長徑噴嘴安裝結構,其特征在于,所述連接件為4個或6個。
4.根據權利要求3所述的差壓式長徑噴嘴安裝結構,其特征在于,所述連接件為銷子。5.根據權利要求4所述的差壓式長徑噴嘴安裝結構,其特征在于,所述銷子與長徑噴嘴過盈配合。
技術領域
本實用新型屬于節流裝置領城,具體涉及-種差壓式長徑噴嘴安裝結構。
背景技術
節流裝置是在充滿管道的流體流經管道內的一種流裝置,流束將在節流處形成部收縮,從而使流速增加,靜壓力降低,于是在節流件前后產生了靜壓力差(或稱節流式量計)。長徑噴嘴節流裝置作為種節流元件,經與差壓(流量)儀表及相應的二次儀表套,可實現對各種非腐蝕性流體流量的測量及控制。
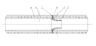
差壓式長徑噴嘴節流裝置采用將長徑噴嘴固定在工藝管道內的工作型式。但傳統的差壓式長徑噴嘴在進行長徑噴嘴與工藝管道焊接時,需要把工藝管道分成上游和游兩段。如圖I所示,焊接時,先把工藝管道的上游1和下游2倒坡口,再與長徑噴嘴5接,這種裝配結構需要焊接,焊接時的裝配很難定位,需用專用的夾具,既費工時,而且工成本也高,其工藝也很難保證長徑噴嘴與工藝管道的同軸度。
實用新型內容
本實用新型針對上述現有技術的不足,提供了一種能夠保證長徑噴嘴與工藝管的同軸度,減少工藝復雜度,降低工藝成本的差壓式長徑噴嘴安裝結構。
本實用新型是通過如下技術方案實現的:
種差壓式長徑噴嘴安裝結構,包括工藝管道和長徑噴嘴,以及位于長徑噴嘴側的測量孔,所述長徑噴嘴設置于工藝管道的內部,所述測量孔設置在I藝管道的側壁上其特征在于,所述工藝管道為-一體式直管道,長徑噴嘴通過一連接件與一體式直管道連接[00])本實用新型在現有差壓式長徑噴嘴安裝結構的基礎上進行了改進,采用了整體的工藝管道,并且長徑噴嘴通過連接件與工藝管道連接。如此結構避免了對工藝管道焊接,因而能夠保證長徑噴嘴與工藝管道的同軸度,減少工藝復雜度,降低工藝成本。(00本實用新型的進步設置為:所述一體式直管道的內壁上設置有一向內凸出的臺階,長徑噴嘴的入口部分設置有與所述第一臺階配合的第二臺階。如此設置,方面介質流向壓力大時,第一臺階可以承壓:另方面在裝配長徑噴嘴時,第臺階可以起到位的作用,從而進一步的保證了長徑噴嘴與I藝管道的同軸度。
本實用新型的進步設置為:所述連接件為4個或6個。如此設置可以保證長噴嘴與工藝管道的連接更牢固。
本實用新型的進一步設置為:所述連接件為銷子。如此設置可以使安裝結構更單,較易實現。
本實用新型的進一步設置為:所述銷子與長涇噴嘴過盈配合。如此設置可以更好的保證長涇噴嘴與工藝管的同軸度。
圖1為現有的差壓式長徑噴嘴安裝結構圖:
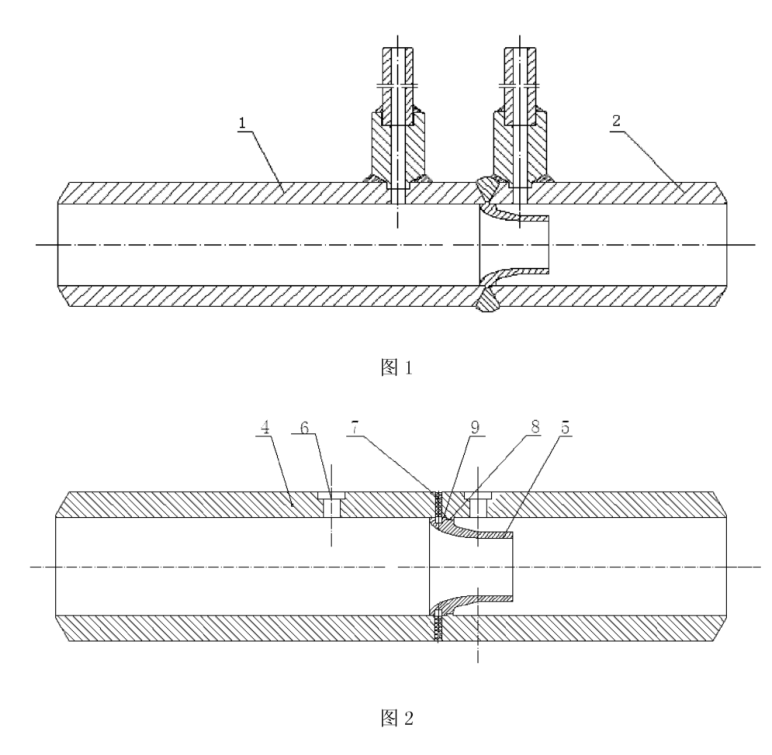
圖2為本實用新型所述的差壓式長徑噴嘴安裝結構圖:
圖中各標號的含義如下:
上游一十,下游2.工藝管道4,長徑噴嘴-5,測量孔6,連接件-7,第一臺階-8,第二臺階-9.
具體實施方式
下面結合附圖和具體實施方式對本實用新型做進步詳細的說明。
如圖2所示,本實用新型提供了一種差壓式長徑噴嘴安裝結構,包括工藝管道4和長徑噴嘴5,以及位于長徑噴嘴5兩側的測量孔6,長徑噴嘴5設置于工藝管道4的內部,測量孔6設置在工藝管道4的側壁上:其中,工藝管道4為一體式直管道,長徑噴嘴5通過一連接件7與-體式直管道連接。
工藝管道4的內壁上設置有一向內凸出的第一臺階8,長徑噴嘴5的入口部分設置有與所述第一臺階8配合的第二臺階9。安裝長徑噴嘴5時第一臺階8與第二臺階9配合可以更好的實現對長徑噴嘴5的定位。
連接件7為4個或6個,4個或6個連接件7可以對稱設置在工藝管道4的圓周方向,使連接關系更牢固。.
本實施例中的連接件7為銷子,當然連接件7還可以為螺釘等其他連接件。長徑噴嘴5裝配好后再鉆銷子孔(須配合銷子鉆),且銷子與長徑噴嘴要過盈配合,才能更好的保證長徑噴嘴與工藝管道的同軸度。

相信通過以上長徑噴嘴流量計安裝的全部容,能夠使大家對長徑噴嘴流量計安裝有一個較為全面的認識,對選擇合適的液體流量計有所幫助。如有疑問,可以隨時聯系我們。
最新資訊文章
- 流速式流量計的安裝注意也需要一定講究
- 氣體渦街流量計在測量蒸汽爐煤氣時出現問題及解決方法
- 孔板流量計測量瓦斯抽放流量時的安裝要求及取壓方式
- 測蒸汽時應選孔板流量計還是渦街流量計?
- 差壓孔板流量計出現故障時 不妨試試以下方法
- 天然氣流量計管道調試故障原因分析
- 插入式流量計的原理與分類
- 如何消除污水流量計工頻干擾和零點漂移
- 孔板流量計:自動化設計廢鋼鐵行業轉行井噴
- 前后直管段太短時孔板流量計應該如何安裝
- 德爾塔巴流量計的安裝要求以及注意
- 高壓孔板流量計在冷凍水檢測中的注意要點及解決方案介紹
- 選型蒸汽流量計時所需要注意的問題介紹
- 導致孔板流量計誤差變大的原因分析
- 孔板流量計測量蒸汽產生誤差的原因分析及解決辦法
- 深入探究影響孔板流量計進行煤氣流量計量的因素
- 質量流量計和控制器引擎蓋下的主要組件詳細介紹
- 淺析階躍溫度及水流速度對金屬管浮子流量計的影響
- 選擇流量計時會犯的10個常見錯誤以及如何避免錯誤
- 運用標準計量器具校正金屬管浮子流量計
- 如何正確安裝蒸汽流量計
- 天燃氣流量計的功能介紹
- 蒸汽流量計運行工作前的準備和調試
- 限流孔板流量計作為流量測量元件的使用條件有哪些
- 環形孔板流量計在各介質中的應用












